洁净室的人物净化流程设计

文章来源://www.capeel.com/  2020年09月23日  点击数:4871

1、一般要求

(1)人身净化用室的入口处,应设净鞋器。

(2)在外衣室和洁净室工作室应分别设置。

(3)盥洗室应设洗手和烘干设备,水龙头应按最大班人数每10人设一个。

(4)洁净区内不得设厕所。人身净化用室内的厕所应设前室。

(5)空气吹淋室应设在洁净区人员入口处,并与洁净工作服室相邻。单人空气吹淋室按最大班人数每30人设一台。当仅为高级别的垂直单向流洁净室时,可设气闸室,不必用吹淋方式。洁净区工作人员超过5人时,室气吹淋室一侧应设旁通门。


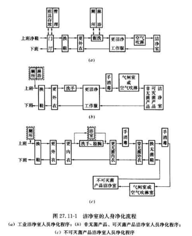
2、洁净室的人身净化流程

一般工业洁净室与生物洁净室人身净化流程如图27.11-1(a)、(b)、(c)所示。建筑设计师必须充分满足此要求。图中虚线框内的设施可根据需要设置。

洁净厂房的人员净化用室和生活用室的建筑面积一般可按洁净区设计人数平均每人4~6┫确定。

更多
相关文章:
Tags:

上一条:洁净室的防排烟防微振问题下一条:洁净室的构成简单说明
首页 | 关于我们 | 解决方案 | 工程案例 | 客户中心 | 1946浼熷痉瀹樻柟缃戠珯 | 1946浼熷痉澶囩敤缃戝潃 | 1946浼熷痉瀹樼綉
深圳、佛山、东莞、中山、江门、惠州、广州净化工程公司|无尘车间|洁净室|无尘室|净化车间|净化厂房|洁净厂房|洁净车间|洁净棚|GMP车间|GMP厂房等空调洁净工程施工及服务
拓展阅读:10万级净化车间标准|实验动物房|中央厨房|洁净室换气次数|洁净手术室规范|GMP洁净度等级|食品生产卫生规范|洁净厂房施工要点|无尘车间着装规范
Copyright © 2012-2018
Baidu
map